There are currently 222 documents in the archive.

Bibliography Archives List Library Listing

29 July 2012
Added "Space Debris and Its Mitigation" to the archive.
16 July 2012
Space Future has been on something of a hiatus of late. With the concept of Space Tourism steadily increasing in acceptance, and the advances of commercial space, much of our purpose could be said to be achieved. But this industry is still nascent, and there's much to do. So...watch this space.
9 December 2010
Updated "What the Growth of a Space Tourism Industry Could Contribute to Employment, Economic Growth, Environmental Protection, Education, Culture and World Peace" to the 2009 revision.
7 December 2008
"What the Growth of a Space Tourism Industry Could Contribute to Employment, Economic Growth, Environmental Protection, Education, Culture and World Peace" is now the top entry on Space Future's Key Documents list.
30 November 2008
Added Lynx to the Vehicle Designs page.
More What's New Subscribe Updates by Email
K Mori, S Nakai, S Iihara, Y Naruo & K Mon, 1994, "Design Study on Propulsion Systems for Space Tourist Carrier Vehicle", Journal of Space Technology and Science, Vol 10, No 2, pp 35-44..
Also downloadable from http://www.spacefuture.com/archive/design study on propulsion systems for space tourist carrier vehicle.shtml

References and Referring Papers    Printable Version 
 Bibliographic Index
Design Study on Propulsion Systems for Space Tourist Carrier Vehicle
Kazuhisa Mori*, Shunichiro Nakai**, Shigeyasu Iihara** and Yoshihiro Naruo***
Abstract

Propulsion systems for an SSTO (single-stage-to-orbit) type of space vehicle to be used for space tourism have been studied. Bell nozzle engines and liquid hydrogen and liquid oxygen propellants were chosen for this study to meet the targets of life time, reliability and maintenance frequencies assumed to be required analogous to present-day airline operations. Conceptual design and system analysis were made in terms of engine arrangement in the vehicle and intact abort capability, and a system was conceptualized.

1. Introduction

The Japanese Rocket Society ( JRS) is studying space tourism as a near future space activity. Specifically, the JRS Transportation Research Committee is conducting a conceptual study of an SSTO type of reusable space vehicle to be used for space tourism. This paper is a part of the study, focusing on the propulsion subsystem.

According to a general guideline for the space tourism study (1), a typical spaceflight for the first phase space tour will be a three-hour orbital flight around the earth, and the flight frequency of the vehicle will be three hundred flights in a year. As for passenger accommodation, the maximum acceleration on the human body is 3 G, and atmospheric reentry of the vehicles is made in a base-first mode, to make the direction of G forces on passengers similar during both the ascent and descent phases of flight.

The reference vehicle designed by the research committee was a vertical take-off and landing SSTO vehicle whose propellants are liquid hydrogen ( LH2) and liquid oxygen ( LOX) rather than advanced ones such as slush hydrogen (2). Requirements for the propulsion system emphasized operational aspects rather than engine performance, since operation of the reference vehicles aims at present-day airline operations. Engine handling and maintenance will be the most fundamental work to support airline-type operation of such space vehicles. It was suggested that "check before/after each flight" and "regular check per 6000 seconds or 12 flights" and "overhaul per 50000 seconds or 100 flights" are necessary for each engine life time which is 40 hours for 300 flights.

2. Engine Characteristics
Engine Configuration

There are two different types of rocket engine configuration considered as candidates for the main propulsion system of the vehicle under study. One is a multiple engine system of bell nozzle engines (dual-position), and the other is a plug nozzle engine.

Although there is no major performance discriminator between bell nozzles and a plug nozzle, as pointed out by Ref. 3, a multiple engine system with bell nozzles has been adopted for this study, considering general criteria for vehicle design, such as:

  • simplicity of operation during engine-out contingency,
  • roll control capability provided by gimballing the engines, and
  • thrust vector control by gimbal mounting of engines.
Engine cycle

For multiple engine systems, characteristics of each engine such as performance, cost and maintainability will critically affect the performance and maintainability of the systems. Especially in this case, the operational aspect of performance characteristics will be more important than in the case of expendable rockets. In this respect, expander- derived engine cycles which maintain low power cycle temperatures and minimize system complexity are considered to be the best for the propulsion system under study. Although staged-combustion cycle engines are known to offer higher specific impulses and better envelope advantages than expander-derived engine cycles due to higher chamber pressure, their technology is too expensive to satisfy the requirements for low life cycle cost operation like airplanes. On the other hand, specific impulse of expander cycle engines is expected to increase almost as high as that of staged-combustion engines, as discussed in the following.

Prospective improvement of existing engines

We will discuss a little further the justification of our selection of engine cycle in connection with design analysis of optimum sizing of engines. Figure 1 shows some results of our analysis on the performance of several kinds of expander cycle engines based on existing technology. A critical issue of this type of engine is to increase chamber pressures high enough to keep high specific impulse at sea level.

In Figure 1, the sea level specific impulse is shown as a function of chamber pressure for three engines designated as; Expander, Expander bleed and Augmented expander. The EPS is abbreviation of expansion area ratio. The Augmented expander cycle proposed by Aerojet Propulsion Division (4) is a typical engine cycle in which flow enthalpy to drive turbines are augmented by adding chemical energy with combustion products to the coolant exiting the chamber. Two cases with different expansion area ratio are shown in Figure 1. The Expander bleed cycle has been based on LE-5A engine (5)

Figure 1. Performance of expander cycle engines to be built with existing technology. (Thrust level is 70 tonf.)

Figure 2 shows our result of analysis of turbine pressure ratios and chamber pressures for an augmented expander cycle engine operating at three turbine temperatures. Each curve indicates it is not efficient to increase the chamber pressure beyond a certain level because turbine pressure ratio increases more rapidly. In this respect, a maximum engine chamber pressure of 10 MPa will be enough to achieve high specific impulse at sea level.

Figure 2. The cycle limits of augmented expander cycle engine of conventional technology level.
Characteristics of candidate engines

To improve the overall performance of a propulsion system consisting of bell nozzle engines whose performance changes with altitude, two types of engines: booster and sustainer engines will be used. The expansion ratio for the booster engine was selected to be 15 to derive maximum thrust at liftoff. The sustainer engine will be provided with an extendible nozzle, and nozzle expansion ratios are 80 and 40 at fully extended and retracted positions, respectively.

The characteristics of these candidate engines have been based on the LE-7 engine, about 80 % level of which is assumed for the thrust levels in order to assure reliability and a life cycle to meet the operational requirements for space tourism. Thus, the chamber pressure was determined to be 10 MPa at a mixture ratio of 6. Other characteristics of the engines are summarized in Table 1.

Table 1 Characteristics of candidate engines
Booster engines
Nozzle expansion area ratio 15.
contour 90% bell
Thrust sea level 73.9 tonf
vacuum 80.6 tonf
Specific impulsesea level 381.0 sec
vacuum 415.5 sec
Isp efficiency* 0.968
Thrust to weight ratio 77.1:1
Sustainer engines
Nozzle expansion area ratio 40. 80.
Nozzle contour 56% bell 75% bell
Thrust sea level 65.6 tonf -
vacuum 83.8 tonf 87.8 tonf
Specific impulsesea level 338.2 sec -
vacuum 431.8 sec 452.7 sec
Isp efficiency* 0.952 0.968
Thrust to weight ratio 74.3 : 1
Engine Maintenance

The engines are required to have long lifetime and ease of operation similar to those of current airliners. To obtain this capability, it is important to reduce the number of parts that directly affect the engine life cycle. Table 2 shows our goals for the numbers of life-critical engine parts in comparison with those for engines of passenger airliners and conventional rockets.

Table 2 Numbers of Life-critical Engine Parts
3. System Analysis
Arrangement of Booster and Sustainer Engines

To maximize the performance of a multiple-engine propulsion system, we have to choose an optimum combination of the candidate engines: booster and sustainer engines. The design requirements are to attain a required orbital velocity at the minimum mass penalty of engines and propellant consumption under the constraint of a maximum acceleration of 3G. In general, booster engines will burn only in the early phase of the ascent, while sustainer engines will be used for all phases of the ascent. Selection of the number of each type of engine, and general arrangement of engines on the base of the vehicle are critical design considerations for the multiple engine system in this study.

Table 3 summarizes four candidate cases of engine combination together with the main results of calculations. For each case, it was possible to inject 66 metric tons into low-earth orbit. Case C, a combination of four booster engines and eight sustainer engines, put the largest mass into orbit. It is noted that the largest mass on orbit does not necessarily imply the largest payload, since it includes payload, dry vehicle and propellants. This table also shows the results of engine weight estimation (6). As a result of investigation, it is ascertained that the case C which has a largest capability of injection mass into orbit will be able to put the largest payload. If the actual weight of the extendible nozzles of sustainer engines are heavier than the estimated value, dominant position of the case C will be break.

Table 3 Engine Combinations and Payload Capability
Initial thrust-to-weight ratio

On designing the vehicle shape, we prioritized passenger accommodation rather than aerodynamic characteristics to maximize payload mass. As a result, the vehicle has been designed to be of a short and stocky shape with relatively high aerodynamic drag. The only variable which minimizes the total losses caused by aerodynamic drag and gravity during ascent is the initial thrust-to-weight ratio at lift-off. If acceleration is increased higher, aerodynamic drag will increase, while gravity loss will decrease. Figure 3 shows results of calculations on the relation of mass in orbit vs. initial thrust-to-weight ratio. In this calculation, the penalty of higher acceleration due to increase of engine mass is considered, while other weights are assumed to be constant. The maximum payload is about 7.5 ton when thrust /weight is 1.5, which is 1.1 ton larger than when the thrust-to-weight ratio is 1.3. Thus, 1.5 is chosen as the initial thrust-to-weight ratio.

Figure 3. Mass on orbit vs. thrust-to-weight ratio at lift-off.
Abort Capability

Intact abort capability in case of engine failure is one of the most important requirements for an aeroplane-type operation SSTO (7). To satisfy this requirement, the thrust-to-weight ratio when an engine or engines fail must be greater than one so that the vehicle can continue to climb and burn out its residual propellants and land safely.

If the thrust-to-weight ratio at lift-off is assumed to be 1.5, twelve engines are required for the reference vehicle. The allowable number of malfunctioning engines for a twelve-engine system is four. In this case, if a normally operating engine has to be shutoff to compensate thrust imbalance due to failure of an engine, the number would still be two, which means the abort capability of this case is very high.

4. System Concept
Engine combination and operation

The lift-off weight of the reference vehicle is estimated to be about 550 ton(2). As discussed previously, it will be assumed that the thrust-to-weight ratio at lift-off is 1.5. It was concluded that the case C which put the maximum mass into orbit could be the best system to maximize the payload. Therefore, the combination of four "booster" engines and eight "sustainer" engines has been selected as the final design. As discussed above, this engine combination has a very high margin of abort capability.

For ascent, all engines are burned at lift-off and then some are subject to shutoff and throttling so that the acceleration should not exceed 3G. For descent, four booster engines are ignited but two of them wait in idling mode (about 5 % of rated thrust) preparing for engine failure. Prior to landing, the vehicle weight is about 60 tons. The necessary engine throttling level is about 30 % allowing for the engines operating in idling mode.

Figure 4 shows the time history of specific impulse and altitude during ascent of booster and sustainer engines in the combination as in case C in Table 3. Figure 5 shows the nominal history of thrust and acceleration for the same case. This figure also shows that if the engines have about 30%-of-maximum thrust throttling capability, the maximum deceleration level for passengers is less than 0.5 G when the booster engines cut off.

Figure 4. Specific impulse of engines (right ) and altitude (left) during ascent.
Figure 5. Thrust and acceleration during ascent for Case C in Table 3.
Tank and Propellant Feed System

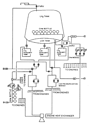
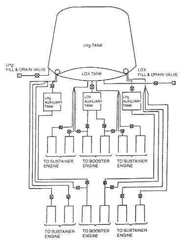
The orbital stay time of the reference vehicle is from 3 to 24 hours. Therefore it is important to maintain liquid propellants and their temperature, and to feed propellants to engines so that they can restart reliably before descent. But the main tank is too big for this. So auxiliary tanks are necessary for coasting and restart. These tanks are located under the LOX tank and insulated to maintain the propellants for 24 hours or more. A baseline schematic diagram of the tank and propellant feed system is shown in Figure 6. For LH2, auxiliary tanks are double because of vehicle space. During the ascent phase, all main engines and auxiliary tanks are fed propellants from the main tanks. And during the descent and landing phase, the 4 booster engines (2 engines waiting in idle mode) use propellants from the auxiliary tanks.

Tank Pressurization and Vent System

A baseline schematic diagram of the tank pressurization and vent system is shown in Figure 7. Both main tanks are pressurized with ambient temperature helium (GHe) from the ground facilities prior to engine start and during the engine start transient. During the ascent phase after lift-off, the LH2 main tank is pressurized with gaseous hydrogen (GH2) tapped from the engine and the LOX main tank is pressurized with gaseous helium (GHe) which is stored in cryogenic helium (CHe) bottles mounted in the LH2 main tank and warmed by the engine heat exchanger. The LH2 and LOX tank pressures are controlled by on/off actuation of simple shutoff valves. After engine cut-off, both tank pressures will be reduced and controlled by on/off control valves (FVRV/OVRV) to keep propellant temperatures low while on orbit. Before descent, the auxiliary tanks are pressurized with GHe, which is supplied from the GHe bottles, before engine restart and during start transient. After engine start, auxiliary tanks are pressurized in the same manner as in ascent. Both tank pressurization modules and the pressure control module of CHe have redundant units. The FVRV/OVRV also operate for venting before launch, protecting the tanks from rupture.

Figure 6. Schematic diagram of the tank and feed system.
Reaction Control System

Considering safety for passengers and ground operators, gaseous oxygen and hydrogen (GOX and GH2) instead of toxic gases are used as propellants of the Reaction Control System (RCS). The RCS is used mainly in the period from engine cut-off to engine restart. In this time, a total impulse is given of about 4.2´106 N s (1). Its baseline schematic diagram is shown in Figure 8. Considering weight and mounting space, the RCS will consist of boost pumps, a set of accumulators for liquid and gaseous propellants, gas generators, regulators and a set of GOX/GH2 thrusters. The main characteristics of the GOX/GH2 thruster are assumed as follows.

Thrust : about 7000 N
Chamber Pressure: about 1.5 MPa
Mixture Ratio : about 6
Specific Impulse: 320 sec.
Figure 7. Schematic diagram of the tank pressurization and vent system.
Figure 8. Schematic diagram of the reaction control system (RCS).
5. Considerations on Further Study

This stage of the vehicle study has been concerned mainly with conceptualization of each subsystem, so that the concept of the propulsion system will have to be improved during the future work on vehicle integration. The following questions are left for future study in connection with vehicle integration design.

Vehicle Integration

As far as propulsion is concerned, the estimate of the vehicle mass summarized in Ref. 2 does not reflect actual design data but is empirical data of expendable vehicles. The estimated mass should be revised considering the uniqueness of vehicle geometry and special design requirements of airline-type operation.

The base-first atmospheric reentry raises issues of integration of the propulsion system with the vehicle, since additional provision for thermal protection of the engines will be required. The preliminary design of the vehicle provides a sliding hatch to cover each nozzle exit(2). The geometrical shape of the bottom is now determined by aerodynamic reasoning, but has not yet been examined from the standpoint of its impact on rocket performance.

Presently, each engine is assumed to be provided with a gimbal mounting movable in pitch and yaw directions. Further study should look into the possibility of reducing the number of mechanical equipments

Operation

As noted, this propulsion system has sufficient design margin of abort capability, and is also provided with high initial thrust-to-weight ratio. This design feature is supported by low engine mass estimation, but will be changed if the actual mass of the engines differs from the estimates used in this study.

For the prelaunch operation, the system concept is based on conventional launch vehicles rather than aircraft. It is admitted that the post landing refurbishment procedure which will be crucial to reusable space vehicles in frequent operation has not yet been conceptualized. The facilities to support ground operation have not been studied in detail either.

In future studies, we expect improvement of the propellant feed and pressurization system design, according to more detailed requirements definition based on the individual engine specifications.

6. Conclusions

As a part of a preliminary study of an SSTO vehicle for space tourism, a combination of expander-derived engines to use liquid hydrogen and liquid oxygen has been studied. To feature space tourism, the vehicle was designed to be of blunt body to enter the atmosphere in a base-first attitude, and passenger accommodation has been prioritized in terms of vehicle design and maximum acceleration.

The concept proposed here is a system consisting of four booster engines and eight sustainer engines. Booster engines designed to have high specific impulse at low altitude will be used during the initial phase of ascent, and sustainer engines which will be used through all ascent phases are provided with extendible nozzles to achieve higher performance at high altitude.

The initial thrust-to-weight ratio is determined to be 1.5, which maximizes the payload into orbit. Therefore, shutoff of four engines at most can be allowed in case of abort. However, more detailed study will be required to finalize the design, especially in the field of operational requirements which are not well defined at the present.

Acknowledgments

The authors are grateful to the JRS transportation research committee for valuable discussions.

References
  1. P Collins, Fall 1993, "Toward commercial Travel", JSTS Vol.9 No.1 pp 9-12
  2. K Isozaki, A Taniuchi, K Yonemoto, H Kikukawa, T Maruyama, T Asai and K Murakami, "Vehicle Design for Space Tourism", presented at the 19th ISTS, Yokohama (preprint: ISTS-94-g-22p) and revised to be included in JSTS Vol.10 No.2 pp 22-34
  3. Richard K Weeger, " SSTO Propulsion Design", AIAA-92-1384
  4. T J Facciullo et al, " An Advanced Cryogenic Engine Cycle For Commercially Successful Single-Stage-to-Orbit Vehicles", AIAA-93-2286
  5. Y Koyari, K Kishimoto and Y Kakuma, 1988, " Test Report of Up-grading of LE-5 Engine (LE-5A)", Proc. of 16th International Symposium on Space Technology and Science ( ISTS), Sapporo, pp 321-326
  6. Y Naruo and Y Hashimoto, 1994, " Investigation on Most Suitable Arrangement of Booster and Sustainer Engines for VTOL Type SSTO Vehicle", Proc. of the 38th Space Sciences and Technology Conference; Tokyo; pp 177-178
  7. Maxwell W Hunter, Fall 1989, " The SSX - A True Spaceship", Journal of Practical Applications in Space, Vo1.1 No.1
K Mori, S Nakai, S Iihara, Y Naruo & K Mon, 1994, "Design Study on Propulsion Systems for Space Tourist Carrier Vehicle", Journal of Space Technology and Science, Vol 10, No 2, pp 35-44..
Also downloadable from http://www.spacefuture.com/archive/design study on propulsion systems for space tourist carrier vehicle.shtml

 Bibliographic Index
Please send comments, critiques and queries to feedback@spacefuture.com.
All material copyright Space Future Consulting except as noted.